En un mundo móvil en donde todos los jugadores están pensando en anunciar sus equipos plegables; al parecer Apple estaría trabajando en uno según la patente renovada.
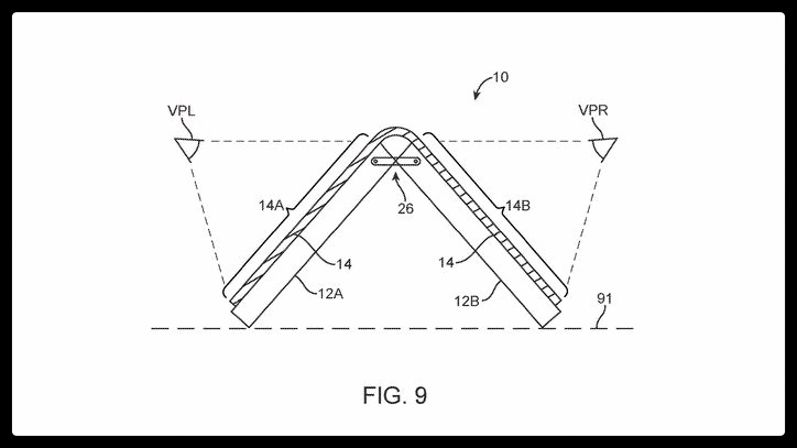
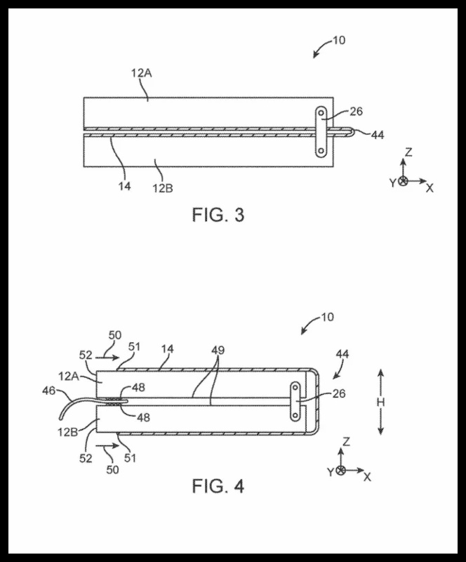
La noticia pasa por la actualización de una patente el jueves pasado por parte de Apple; la cual tenia patentada desde el año 2011. Vemos en la misma los esquemas de como podría ser su apuesta plegable; muy al estilo Razr de Motorola.

Algo que podemos ver en las imágenes donde incorpora las bisagras y la cubierta que rodea la pantalla OLED flexible que le permite doblarse. Hay dibujos de un diseño del tipo tapita; y otra ilustración de un diseño que dobla el teléfono en tres partes.

Los dibujos muestran pantallas flexibles que se doblan hacia adentro y hacia afuera.

Por supuesto no son publicaciones oficiales de Apple y tampoco hay una filtración de un diseño especifico desde Cupertino. Con lo cual hay que tomar estas imágenes con pinzas y ver que sucede.


